用于丝饼成型
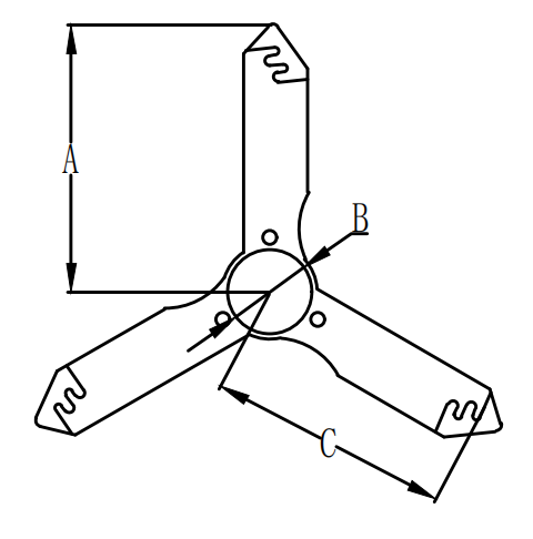
| 型号 | S-1091(圆芯) |
| 计算机号 | |
| 材料 | 铝合金 |
| 适用产品 | |
| 尺寸 | A:94mm, B:28.5mm |
| 重量 | 25g |

拨叉是卷绕头上的一个核心关键部件,其质量问题产生的断裂会导致卷绕头停机,甚至可能损坏横动装置。此外,当拨叉出现磨损或者故障,可能会导致纱线质量出现波动。若是在纺丝完成后才发现故障,那么该批次纱线只能作为 B 级品出售,这将会对长丝生产厂家造成经济损失。因此,拥有高品质的拨叉是保障机器使用寿命和纱线质量稳定的前提。
胜邦依托数十年的研发经验,致力于通过不断的工艺优化,为全球客户提供高强度拨叉导丝器解决方案,从根本上延长配件使用寿命,确保其生产纱线的高品质和稳定性。
同时,我司专家团队研发的陶瓷导丝器与拨叉本体的配合精度极高,且与其它陶瓷尖端相比,粘结强度更高。这就保障了拨叉在整个使用寿命期间的稳定运行。在材料方面,我们的陶瓷导丝片采用我司专业技术人员严苛筛选的高纯度、高温烧制的三氧化二铝,其极高的机械强度和粘结强度能将断裂风险降至最低,确保生产流程在高速、高张力环境下依然平稳、无风险运行。
使用我司生产的拨叉有以下优势:
• 出色的耐磨性
• 减少纱线断头
• 纱线质量始终如一
• 高精度配合公差,延长使用寿命
• 优化表面摩擦系数,特别适用于长丝
• 耐磨、耐腐蚀、耐纺丝油剂
春满申城,盛会启幕。3月11日至13日,备受行业瞩目的2026 中国国际纺织纱线(春夏)展览会在国家会展中心(上海)隆重举办。本届展会展览面积达27000平方米...
查看详情几十年来,塑料大多来自石油。但现在,新一代材料正在崛起——它们来自玉米、细菌,甚至我们的身体。欢迎来到生物基与可生物降解聚合物的世界。1. 从玉米到衣服:聚乳酸...
查看详情提到“尼龙”,很多人首先想到的是丝袜。但在材料科学的世界里,尼龙只是一个庞大“家族”——聚酰胺(PA)——中出名的一员。聚酰胺,是指主链上含有酰胺基团(-CO-...
查看详情你是否想过,衣服被丢弃后会变成什么?答案很大程度上取决于它们的“出身”——也就是由哪种聚合物制成。根据它们对环境的影响,纺丝原料主要分为两大类:不可生物降解和可...
查看详情春暖沪城,万象更新,全球纺织行业的目光再度聚焦上海。备受瞩目的 2026 中国国际纺织纱线(春夏)展览会(yarnexpo),将于3月11日在上海盛大启幕。 嘉...
查看详情喜迎●新春 金马迎春 新年快乐 玉马扬蹄踏春至, 祥光满院福运开。 嘉兴胜邦机械设备有限公司 嘉兴胜邦科技有限公司 愿您在新的一年里, 事业蒸蒸日上,生活...
查看详情